Cart
Product Categories
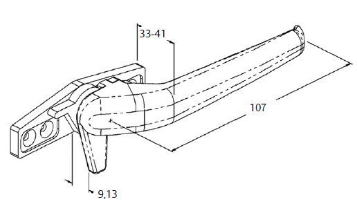
F - Avon Window Handle
Avon_Window_Hand_5092e5b940d71.jpg - Available in a 9mm Offset or a 13mm Offset.
- Locking option available with enclosed cylinder and Key
- Incorporates a 4 hole fixed base with screw covers to enhance its aesthetic appeal
- Stylish design which is pleasing to the eye
- Strong pressure die-cast zinc construction
- Full grip
- New Zealand made
- Left and right-handed models available
- Locking or non-locking design
* Image is of a Right Hand Handle Black *
For locking option refer to LF007K
A modern stylish range of window fasteners specifically designed for use with aluminium or uPVC windows.
The popular fastener incorporates smooth contemporary styling and offers extra security and strength.
Features :
Options :
Click here for the Standard Colour List





